本文2007字,30图,预计阅读时间10分钟

巴蒂尼T-117CG作者MarekRyś
T-107108
巴蒂尼T-107CG作者MarekRyś
这不是巴蒂尼第一次设计大型客机,最早在1944年,在156设计局巴蒂尼就领导了T-107客机的设计工作,这是一架双发三垂尾的活塞客机,采用常见的下单翼结构。

T-107
最显著的特点是,这架飞机有一个两层的加压舱,略窄的底舱同样用于载客。

T-107
T-107在设计阶段就被航空工业部MAP拒绝。巴蒂尼本计划改进设计包括货运版本的T-108,但随着MAP选择了IL-12,T-107\108终于被彻底搁置了。

T-107
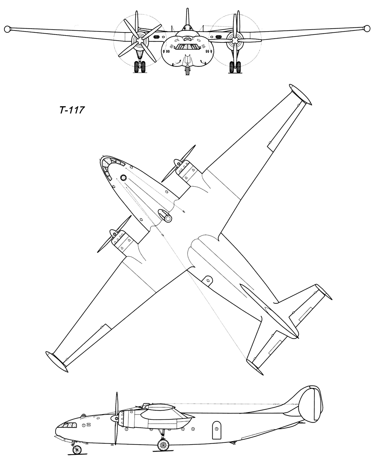
T-117
T-117
巴蒂尼认为,在不久的将来,纯粹的客机将无法完全解决航空运输问题。苏联需要一架多用途飞机,可以完成客运、货运甚至同时运输乘客和车辆、货物,主要用于苏联广袤领土上的广大偏远地区运送人员和大型货物。这是他提交的T-117客机/运输机方案的主要理念。


T-117是巴蒂尼在塔甘罗格最重要的项目,和所有的巴蒂尼飞行器一样,不可能平庸而无特色。T-117的最大特征是机身。与经典的圆形或方形横截面不同,T-117机身由三个共轭圆形组成的5米宽机身。在作为全加压舱的客机使用时候,这种结构具有重量优势,飞机也可作为非加压的货机或者部分加压的混合运输机使用,在为货物留出空间的同时,通过增加内部加压舱壁,保证乘客舒适性。

客舱内部
气动布局上T-117采用双引擎上单翼,三垂尾设计,前三点起落架,前轮为单轮收入座舱下方,主轮为双轮收入发动机舱。1946年春天T-117向航空工业部推出。由于T-117的加压货舱具备相当大的内部尺寸和后坡道,能够直接容纳装甲运兵车或卡车(总重量高达8吨)。

T-117的介绍册封面

MAP随后将T-117纳入了1947的开发计划。T-117的第一架原型机最早也要1947年5月才可能移交给国家测试,第二架原型机预计将于1949年4月移交。第二架T-117将是军用型号,安装SEB-3A型遥控炮塔和两门20mm火炮以及LU-68尾部机枪。除了可搭载80名全副武装士兵外,还计划开发民用运输版本。T-117能够以365公里/小时的平均速度运送50名乘客和500公斤货物,飞行1600公里。

T-117全尺寸模型

货运版本的货舱长度为12.75米,高2.75米宽4.5米,体积超过100平方米,可以运输自行火炮,装甲车辆BA-64,ZIS-5,ZIS-5,GAZ-67B汽车,GAZ-AA和M-1,M-72摩托车,120毫米迫击炮,57至122毫米火炮以及其他货物,包括各种小型武器和弹药。货物可以通过后舱口宽3.2米,高2.6米的货舱跳板运送进机舱。通过安装更强大的动力装置可使未来的型号运送多达1.5倍的载荷。

客舱能力

在T-117项目出现之前,苏联空降兵甚至做梦都想不到这样的装备。在两用版本中,T-117可以携带多达80名全副武装的士兵。相比之下比图波列夫在美国波音B-29飞行堡垒的基础上建造的四发运输机Tu-75性能好的多。甚至,还可以拖曳一架Il-32型重型运输滑翔机。

宽敞的货舱


并排两辆吉普

货舱门
遗憾的终止
1947年6月,MAP委员会查看并批准了军用运输版T-117的1:1模型建造。这架原型由塔甘罗格的第86号工厂负责建造。它于1946年7月开始完成。与此同时,根据同年7月28日的命令,在上述企业成立了OKB-86设计局。这个设计局的首席设计师是在此服刑的巴蒂尼本人。1948年,当T-117的第一架原型已经处于80%的技术准备阶段时,整个T-117计划在斯大林的直接命令下停止。

AS-73
T-117项目的的致命之处是其2000马力的AS-73型发动机。AS-73将主要用于Tu-4四引擎战略轰炸机。此外,他们还用于刚刚批量生产的Il-12型双引擎运输机。因此无法同时供应新项目。

唯一完成的模型

此后巴蒂尼详细阐述了一个替代方案,安装了较弱的1850马力AS-82FN型星形发动机,换装后在2000m的高度最大速度415km/h,搭载4.3t货物可实现2200km的航程。这种改装的T-117项目获本来一度得到了官方绿灯。但AS-82FN的交付日期拖到了1949年2月。由于此时OKB-86已被取消,T-117项目自然终止,苏联距离第一架宽体客机失之交臂。

T-118《巴蒂尼和他的飞机2》封面
巴蒂尼这一阶段还完成了另外一个轰炸机项目T-118设计,使用了部分T-117的技术。这架飞机用作陆基和远程反舰和反潜轰炸机,能够携带进攻和防御武器。

T-118
T-118采用双引擎上单翼,圆型截面长机身,腹部装有巨大的武器舱。进攻武器主要包括鱼雷和炸弹,而防御武器是两个双旋转炮塔和一个尾部机枪。B-29风格的玻璃格框座舱这为机组人员在巡逻飞行期间提供了非常清晰的视野。T-118可能搭载大型喷气动力反舰导弹SS-49,射程为100公里。在机翼中部挂载每侧机翼一个。

T-118三视图

T-118

T-118