直升机机载电子设备NR810()导航机虚拟化仪表检测试验器设计

admin 2025-03-29 109人围观 ,发现248个评论

直升机机载电子设备NR810()导航机虚拟化仪表检测试验器设计

编写:贺军


1、概述:

NR810导航接收机是一部机载无线电导航设备,可完成下述功能:

A)、接收从108MHZ到117.95MHZ范围的“VOR”信标,根据所选的指示器

的型式,自动或手动显示信标位置。

B)、接收“ILS”(航向和下滑)信标,实现水平位置和垂直位置的显示。

-从108MHZ到111.95MHZ甚高频航行信标(信道隔开)。

-从329.15甚高频下滑信标。

C)、接收75MHz频率的无线电位置标“MARKER”信标,通过三个不同颜色

的指示灯显示。

“直升机机载电子设备NR810()导航机虚拟化仪表检测试验器”是用于采用虚拟化仪表方式检测“NR810导航接收机”各项技术指标的检测设备。

“直升机机载电子设备NR810()导航机虚拟化仪表检测试验器”适用于检测导航机设备机型为:

NR810R(零件号:063-1010-103和063-1010-104)

NR810H(零件号063-1010-105)为无线电

“直升机机载电子设备NR810()导航机虚拟化仪表检测试验器”组成如下图所示:


“直升机机载电子设备NR810()导航机虚拟化仪表检测试验器”检测屏幕显示如图所示。


2、NR810导航接收机简介:

2.1、概述:

NR810导航接收机是一部机载无线电导航设备,可完成下述功能:

1)、接收从108MHZ到117.95MHZ范围的“VOR”信标,根据所选的指示器

的型式,自动或手动显示信标位置。

2)、接收“ILS”(航向和下滑)信标,实现水平位置和垂直位置的显示。

-从108MHZ到111.95MHZ甚高频航行信标(信道隔开)。

-从329.15甚高频下滑信标。

3)、接收75MHz频率的无线电位置标“MARKER”信标,通过三个不同颜色

的指示灯显示。

4)、外形:


-与控制盒和相关设备相互连接的连接器。

-同轴连接器与定位器,滑翔和标记天线的连接。

-铭牌。

注意:底板上的接收器的锁定装置是后者的一部分。

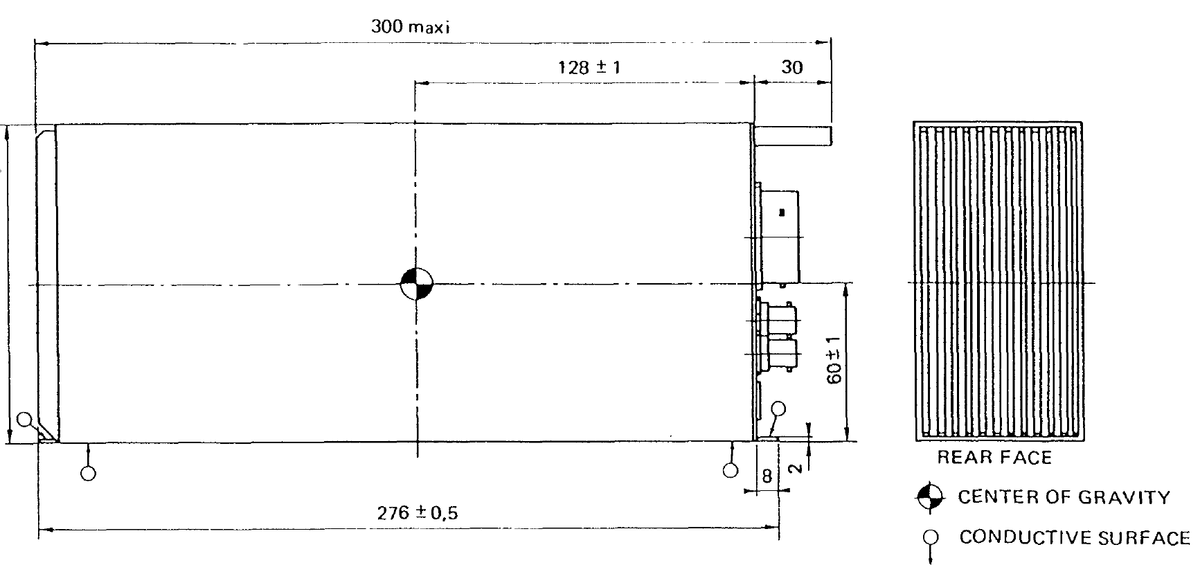
5)、物理特征:

(a)、尺寸:

宽度:62.5mm

高度:120mm

深度:300mm

(b)、重量:2.3kg

2.2、技术指标:

2.2.1、电源:

-电源电压:直流24.75V到30.25V;额定27.5V。

-功率消耗:在直流27.V时35W

2.2.2、VOR-LOC接收:

1)、接收机:

-频率范围:108.00到117.95MHZ

-频道间隔:50KHz

-VOR波道数:160

-LOC波道数:40

-灵敏度:在6dB(信号+噪音)/噪音,

1KHZ调制信号,30%调制度情况下为3μV。

-选择性:在6dB时为±16KHZ。

在60dB时为±31KHZ。

-:4μV到20mV时为2dB。

-音频输出:在匹配的600欧姆负载上100毫瓦。

2)、VOR-LOC数据处理:

-VOR灵敏度:4μV旗消失。

-VOR精度:

自动:±2°

手动:≤±1°

-VOR偏差:±10°时±150μA。

-LOC灵敏度:4μV旗消失。

-LOC中心精度:±10μA。

-VOR偏转灵敏度:4dB时±90μA。

-负载数:

指示器:5个、1000Ω负载。

旗:4个、1000Ω负载。

TO/FROM:2个、200Ω负载。

超旗:28V、100mA。

2.2.3、下滑接收:

1)、接收机:

-频率范围:329.15MHZ到335.00MHZ。

-频率间隔:150KHZ。

-信道数:40。

-灵敏度:20μV旗消失。

-选择性:在6dB时为±25KHZ。

在60dB时为±60KHZ。

2)、下滑数据处理:

-偏转灵敏度:2dB时±78μA。

-中心精度:±5μA

-负载数:

指示器:5个、1000Ω负载。

警告旗:4个、1000Ω负载。

超警告旗:28V、100mA。

2.2.4、信标接收:

-频率:75MHZ。

-灵敏度:

高:可调到≤±200μV

低:可调到≤±2mV

-:200μV到50mV时为3dB。

-音频输出:接入匹配的600欧姆负载上100毫瓦。

-指示灯:3路输出28V100mA。

3、NR810导航接收机电缆接头端口和外形尺寸:

电缆接头端口:


NR810导航接收机外形尺寸:


NR810R导航接收机J1插头接线表:

图中插头编号及作用:

1)、插座编号:J1

插座色标:

插座功能:连接各种控制线

2)、插座编号:J2

插座色标:白色

插座功能:下滑信号BNC接头

3)、插座编号:J3

插座色标:红色

插座功能:信标信号BNC接头

4)、插座编号:J4

插座色标:蓝色

插座功能:VOR信号BNC接头

NR810R导航接收机的J1插头功能介绍:

插头编号:插头功能

A:VOR/LOC旗

B:VOR/LOC超旗

C:下滑旗/下滑超旗

D:+下滑旗

E:+下滑超旗

F:+VOR/LOC偏差

G:-VOR/LOC偏差

H:+到

J:+离

K:+下滑偏差

L:-下滑偏差

M:+28V电源系统

N:+28V电源系统

P:导航接通

R:-28V电源系统

S:-28V电源系统

T:LOC接通

U:VOR/LOC旗、VOR/LOC超旗

V:OBSCE定子

W:OBSD定子

X:OBSF定子

Y:OBSB-C定子

Z:OBSH定子

a:OBS屏蔽地

b:导航检查

c:频率公共点

d:A-1MHZ

e:B-1MHZ

f:C-1MHZ

g:D-1MHZ

h:E-1MHZ

i:

j:

k:

m:

n:

p:C-50KHZ

q:VOR/LOC旁音高

r:VOR/LOC旁音低

s:信标灯试验

t:3000HZ指示灯

AA:1300HZ指示灯

BB:400HZ指示灯

CC:信标接通

DD:信标旁音低

EE:信标旁音高

FF:信标灵敏度

HH:自动VORLF(MVA510)

GG:接通后的+28V(MVA510MKR)

z:自动驾驶装置输出

NR810R导航接收机的组成部件介绍说明:

编号:说明

1:底盘组件

2:带线的散热器

3:前面板组件

4:盖板组件

5:译码器

6:VOR/ILS试验

7:MARKER灯输出

8:VOR合成器

9:VOR音频

10:VOR接收机

11:MARKER接收机

12:GLIDE接收机

13:GLIDE音频

14:GLIDE合成器

15:电源

NR810R导航接收机的组成部件图示介绍:


NR810R导航接收机的分组件介绍:


编号:说明

16:U型底座

17:5个扁螺母固定主板用

18:11对固定滑槽

NR810R导航接收机的分组件介绍:


19、机架散热器。20、6个电压调节器

NR810R导航接收机的分组件图示介绍:


NR810R导航接收机的分组件介绍说明:

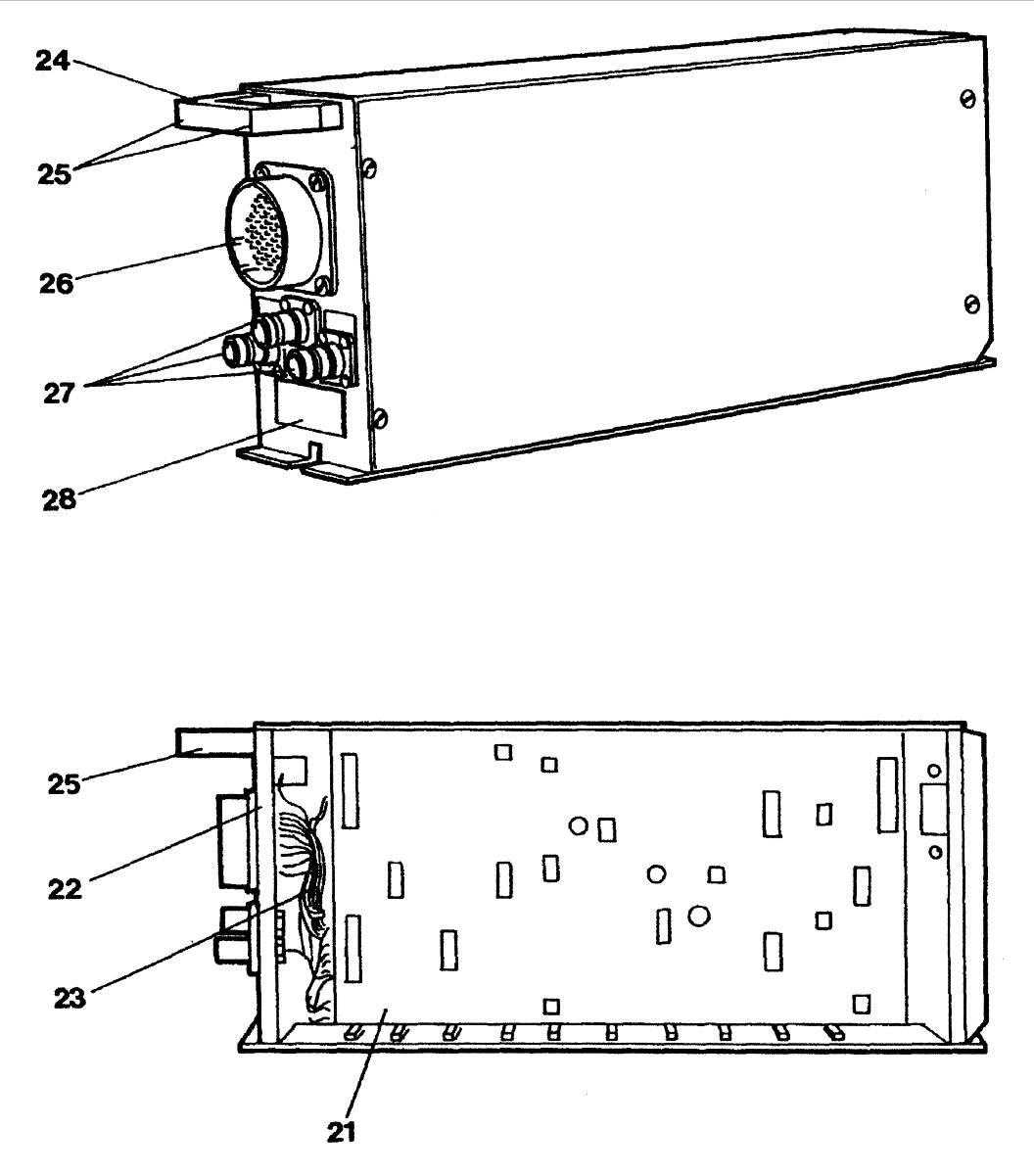
编号:说明

21:插座固定母板

22:机架前面板

23:电缆束

24:支架把手

25:支架把手

26:55针圆形插座(J1)

27:三个同轴插座(J2、J3、J4)

28:标牌

NR810R导航接收机的分组件介绍图示:


接收机的全部功能的11个插件板,通过滑座被垂直固定在地板上。

3、VOR系统的基本知识:

1)、VOR系统的用途:


VOR系统属于中距离无线电导航设备,通过108到118MHZ甚高频的VOR信标来求出飞机的位置。


如上图所示,穿过VOR发射台和飞机的直线标之为VOR方向,由VOR方向与磁北极的夹角定义为VOR磁方位角。

求得这一数据是与手动工作方式相对应。

此外,在自动方式,经方位数据发生器输出磁方位值求得VOR台方位。

这些数据由下列关系式确定:

VOR磁方位角-磁方位角+180°=VOR方位

2)、VOR手动操作方式:

A)、手动VOR的原理:手动VOR的工作方式提供飞行方向外的方位数据。


B)、VOR指示器的使用:

在VOR手动工作方式,垂直指针可能偏离中心位置左边和右边表明飞机正在飞行在VOR方向和全方位系统所选定方向之间的航线偏差。

指示器度盘上装有警告旗,用来检查接收到的信号是否被正确处理。标有TO-FROM标志的两个三角形窗口指示正在飞行的飞机相对VOR台的地理象限(如上图所示)。

经向调节的两个调定是位置,相差180°,可使指针对准中心,不论如何调定一个位置,TO指示出现。反之通过调定另一个位置,FROM指示才可以看到。

2)、VOR自动工作方式:


自动工作方式提供相对于发生器给出的磁方位的航向和方位数据,飞机并不总是作为平面上的一点,而是在原定方向上运动的相对一段。

无线电磁指示器(RMI)显示三个数据(例如下图所示的由生产的IVA557指示器)。使用RMI指示器需要使用VOR信号自动数据处理组件(例如前边介绍过的由生产的MVA510组件)。


3)、VOR发射信号:

发射的VOR信号是由两个相同频率的甚高频载波,并按照下述方式调制。

A)、甚高频载波被一个经30HZ信号频率调制过的9960HZ信号幅度调制,这种调制信号代表30HZ的基准信号。

此外该载波信号又被音频信号幅度调制,用来识别VOR信标台,该VOR信号是全方位的。

B)、相同频率但不进行调制的甚高频载波,按心形方向性图辐射,并以每秒30周速度转动,该信号代表30HZ的可变信号。

代表最大幅射方向的心状图形正好交于磁北极,这时飞机接收两个30HZ信号,即可变信号和基准信号,其相位角即等于飞机对VOR台的方位角。


4)、VOR接收:

A)VOR接收原理:

VOR接收机由下列部分组成:

--30HZ基准信号和30HZ可变信号的解调和隔离。

--30HZ基准信号和30HZ可变信号比相。

--指示器上的处理数据显示。

--耳机音频信号的解调和监听。

B)、手动方式信号处理:

手动方式信号处理示意图如下:


在该状态,30HZ被解调后的基准信号加给相移电路,给电路由选定方向的方位解算器所控制,VOR径向由OBS手动选定。在移相器的输出端,30HZ基准信号的相位与30HZ可变信号的相位比较。

测得的相位移表示飞机径向和OBS所选定的径向的角度差。当这个角度差为零时,指示器指针正对中心,测得的相位移方向即判明航线方向(TO/FROM)。

C)、自动方式VOR信号处理:

自动方式VOR信号处理原理如下图所示:


该方式已测得的相位移信号,在伺服电路中直接驱动RMI中的VOR指针的电动马达。

给指针的位置信号通过差动同步发送器提供给RMI,其中要减掉飞机磁航向值,RMI则自动显示飞机磁航向角和VOR台方位角。

注:自动方式中VOR信号的处理是由NR810R接收机之外的设备完成的,该设备可以实现与NR810R接收机交联。

4、ILS仪表着陆系统的基本知识:

1)、ILS(仪表着陆系统)的用途:

ILS是一部连续在方位和俯仰上提供制导的着陆设备,该设备可计算出距已知跑道进入端的距离。

ILS系统包括:

A)、指示飞机方向的航向系统。

B)、指示飞机下滑道的下滑系统。

C)、提供距跑道入端距离的指示信标系统。

2)、航向系统:

A)、原理(参看航向系统示意图):

地面天线系统产生两个相对跑道轴线对称的方向性图,左边的方向性图是一个90HZ调制信号,而右边是一个150HZ调制信号。

接收两种调制信号(即90HZ和150HZ)的飞机当位于方向性图对称位置上时,则信号的幅度是相等的,例如在跑道轴线上。

航向载波是108-111.93MHZ的甚高频信号(频率仅用10进位奇数)。

此外该载波被1000到3000HZ音频信号进行幅度调制,用于航向信标的识别。

B)、航向接收:

当对90HZ和150HZ信号解调和选频滤波之后,航向接收机对其幅度进行比较,产生LOC偏差信号,该信号输给ILS指示器的垂直指针,根据飞机在跑道轴线的位置确定在左边还是右边。

航向系统示意图如下:


3)、下滑系统:

A)、原理(参看下滑系统示意图):

下滑系统可引导飞机沿着与水平倾斜2.5°的航线进入航道。

地面的天线系统产生叶瓣状的方向图,如前面下滑系统示意图所示,用90HZ调制一束波,另一束用150HZ调制,从而确定出斜度为2.5°的下滑道。接收到90HZ和150HZ调制信号的飞机,正位于下滑道时,其幅度相等。

下滑载波在329.3到334.8MHZ频率范围工作。

注:每个航向甚高频的频率与已确定的下滑超高频的频率相对应。

载波还被(300到3000HZ)低频信号调制,用作下滑信标的识别。

B)、下滑接收:

90HZ和150HZ信号经解调和选频滤波后,下滑接收机对其幅度进行比较而产生下滑偏差信号,该信号驱动ILS指示器水平指针,根据飞机在跑道的下滑坡道的位置决定水平指针向上或向下。

下滑系统示意图如下:


4)、信标系统:

A)、原理(参看信标系统示意图):

信标系统是一个着陆设备,可提供飞机距已知跑道进入端的距离。

该距离包括按照信标系统示意图所排列的正好垂直发射的75HZ信标距离。

B)、信标接收:

当飞机经过三个信标台中的某一个台时,信标接收机解调相应载波,相应颜色的指示灯在飞机飞过信标上方时燃亮,产生相应的音频信号声响。

三信标主要数据如下:

(1)、信标位置:远台

灯光颜色:蓝色

距跑道进入端距离:7KM

调制频率:400HZ

(2)、信标位置:中台

灯光颜色:琥珀色

距跑道进入端距离:1KM

调制频率:1300HZ

(3)、信标位置:近台

灯光颜色:白色

距跑道进入端距离:60M

调制频率:3000HZ

信标系统示意图如下:


5、NR810R导航接收机的检测校验:

5.1、概述:

“NR810R”导航接收机是一部机载无线电导航设备,可完成下述功能:

1)、接收108MHZ—117.95MHZ的“VOR”信标,根据所选用的指示器型式,自动或手动显示信标位置。

2)、接收“ILS”(航向和下滑)信标,实现水平位置和垂直位置显示。

A)、108MHZ—119.95MHZ甚高频航向信标(信标隔开)。

B)、329.3MHZ—335.00MHZ超高频下滑信标。

3)、接收75MHZ的“MARKER”信标,通过三个不同颜色指示灯显示。

5.2、引用文件:

1)、THOMSON-CSF公司编制的“NR810R部件维修手册”

1994年9月版34-59-01

适用于063-1010-XXX系列部件号的NR810R无线电导航接收机。

2)、机载电子设备试验综合控制器使用说明。

3)、机载电子设备检测矩阵继电器交换箱使用说明。

4)、CMS-57无线电综合测试仪使用手册。

5)、79V-3精密航道选择器使用手册。

6)、MVA510自动VOR适配器部件使用和维修手册。

7)、IVA557罗盘指示器部件使用和维修手册。

8)、HIT134同步发送接收器使用手册。

9)、PC-251-1C试验器供电电源使用说明。

10)、HP54600示波器使用手册。

5.3、对校验人员的要求:

从事该项校验的技术人员和校验人员在进行校验前,要认真阅读有关NR810R导航接收机技术文件外,还要详细阅读CMS-57无线电综合测试仪等测试需要配备的设备和部件的使用说明书,并按照说明书的细节进行操作以保证仪器的正确安全使用。

5.4、测试前需要准备的工作:

测试前需准备好所需要的各种测试设备:

测试系统所需的设备如下:

1)、机载电子设备试验综合控制器1台

2)、机载电子设备检测矩阵继电器交换箱1个

3)、CMS-57无线电综合测试仪1台

4)、79V-3精密航道选择器1台

5)、MVA510自动VOR适配器部件1个

6)、IVA557罗盘指示器部件1个

7)、HIT134同步发送接收器1台

8)、PC-251-1C试验器供电电源1台

9)、HP54600示波器1台

10)、数字万用表1个

11)、各种配套使用连接电缆1套

认真重复检查一遍测试设备的连接是否正确,如图所示。


5.5、测试人员首先要熟悉校验中所要测试信号的定义:

5.5.1、VOR信号:

标准试验信号:

A)、VHF载波同时被:

1)、等幅的9960Hz±1%的副载波调幅30%,这个副载波又是用30Hz±1%的

信号以16±1的速率调频。这个30Hz称为“30Hz基准”信号。

2)、来自与基准信号的同一个信号源的30Hz±1%信号调幅到30%,这个30Hz

的信号在相位上相对于“30Hz基准”是可变的。这个信号称为“30Hz可变”

信号。

B)、标准定中心信号:

标准试验信号中“30Hz基准”信号和“30Hz可变”信号之间的相位差等于

手动轴选择器的调定值。

C)、标准偏转信号:

标准信号中“30Hz基准”和“30Hz可变”之间的相位关系偏离手动轴选择

器固定值10°±0.3°。

D)、标准偏转:

与标准偏转信号一致的手动指示器的偏转。

E)、音频频率标准信号:

标准试验信号是一个用1000Hz±5%的信号调制的调幅度30%±2%的信号。

5.5.2、航向/下滑信号:

A)、标准航向/下滑信号:

VHF/UHF载波用90Hz信号和150Hz信号调幅,像这样调幅因数和为40%

±1%(航向),和为80%±1%(下滑)。

这些音频频率有以下特证:

—30Hz谐波应是同相的。

—同时发生的频率变化不应超过±0.3%。

—每一个音频频率的谐波系数不应超过3%。

B)、标准航向/下滑定中心信号:

标准信号中90Hz和150Hz调制因数之差不小于1dB(0.002dBm)。

C)、标准航向/下滑偏差信号:

标准航向/下滑偏差信号,信号中由90Hz和150Hz调制因数之差是

4dB/2dB(0.093dBm)。

D)、标准LOC音频信号:

标准航向信号是一个用1000Hz信号调制的调幅度为30%±2%的载波信号。

5.5.3、音频信号:

VHF载波用一个1000Hz±5%的信号调制到30%±2%。

5.6、测试人员测试前要熟悉了解所使用测试设备的用途及各部件连接方式:

5.6.1、要熟悉了解机载电子设备试验综合控制器的使用操作方法。


5.6.2、要熟悉了解机载电子设备检测矩阵继电器交换箱的使用操作方法。


5.6.3、熟悉和了解CMS-57无线电综合测试仪的使用方法:

CMS-57无线电综合测试仪面板外形图如下:


CMS-57无线电综合测试仪测试VOR时面板菜单显示图示如下:


注意:在测试VOR接收机时,必须用CMS-57无线电综合测试仪,CMS-50测试仪中没有VOR测试功能。

CMS-57无线电综合测试仪测试ILS-LOC时面板菜单显示图示如下:


CMS-57无线电综合测试仪测试ILS-GS时面板菜单显示图示如下:


CMS-57无线电综合测试仪测试ILS-GS时面板菜单显示图示如下:


5.6.4、熟悉和了解79V-3精密航道选择器的使用方法:

79V-3精密航道选择器面板图如下:


79V-3精密航道选择器后板图如下:


79V-3精密航道选择器在测试系统中的用途:

通过面板选择开关给“VOR”测试提供不同的角度。

79V-3精密航道选择器控制电路图如下:


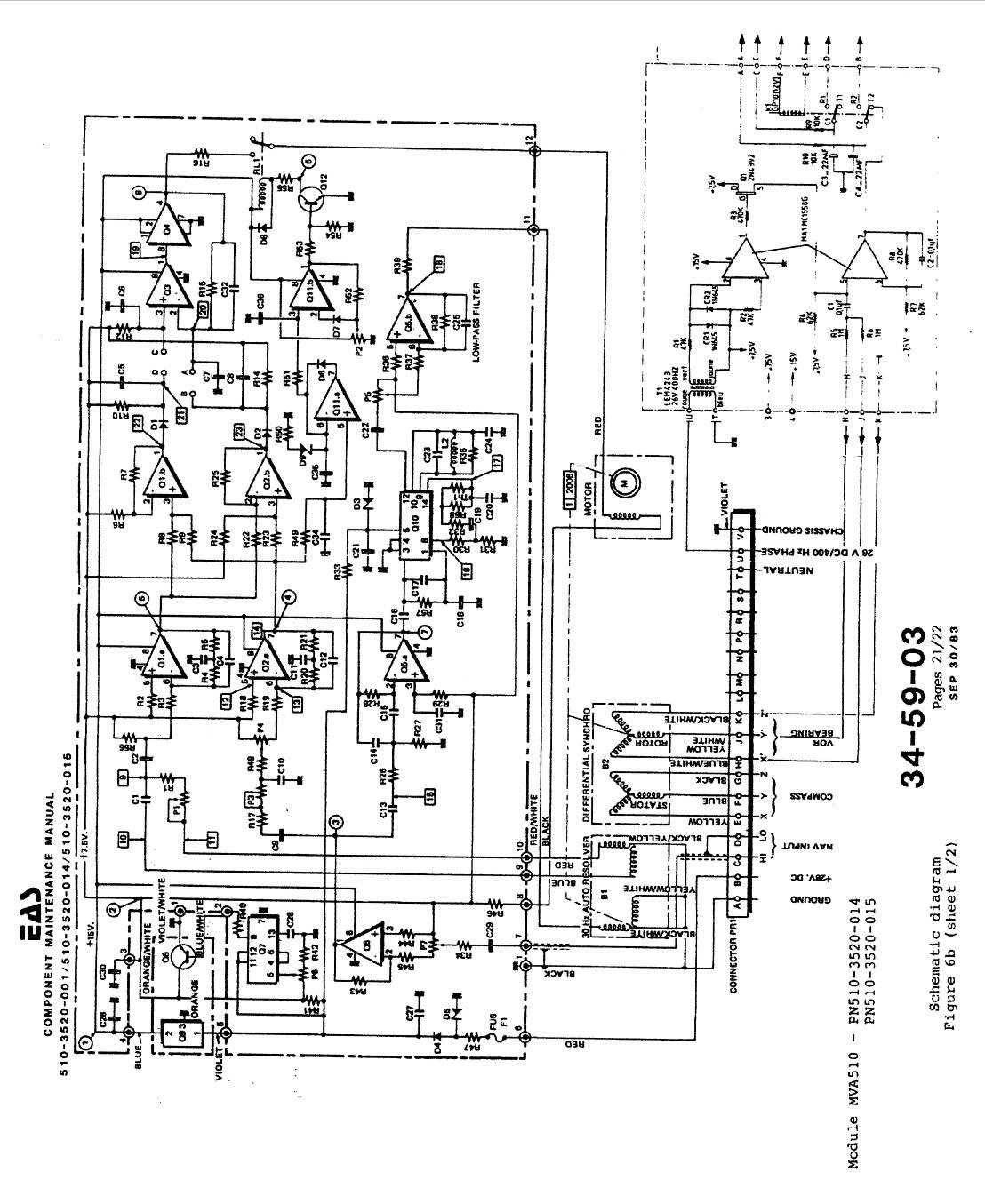
5.6.5、熟悉和了解MVA510自动VOR适配器的使用方法:

注意:本测试系统配备的MVA510自动VOR适配器件号为:510-3520-014

测试接线时请注意按照此件号接线图方式接线。

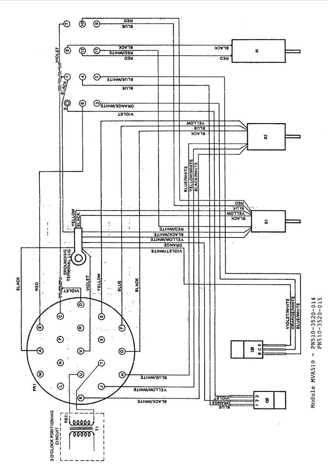
MVA510自动VOR适配器外形及接线示意图:


MVA510自动VOR适配器接线示意图:

(本系统使用件号:510-3520-014)


MVA510自动VOR适配器控制原理示意图:

(本系统使用件号:510-3520-014)


MVA510自动VOR适配器在系统中的用途:

EAS公司生产的NR810型VOR接收机(或同类产品)输出音频信号,本设备对这个音频信号进行处理,使满足ARING标准547和407要求的无线电磁指示器(RMI)能够自动显示VOR信标的方位。

MAI510组件有两种,其功能区别如下:

(1)、特点:处理VOR合成信号的自动工作状态

件号:510-3520-001:有

件号:510-3520-014:有

(2)、特点:处理VOR信号监听(在无可用信号时阻塞)

件号:510-3520-001:有

件号:510-3520-014:有

(3)、特点:在VOR信号处理中断情况下,RMI指针3点钟定位

件号:510-3520-001:无

件号:510-3520-014:有

MVA510自动VOR适配器电路原理图:

(本系统使用件号:510-3520-014)


5.6.6、熟悉和了解IVA557罗盘指示器的使用方法:

IVA557罗盘指示器外形图:

(本系统使用件号:557-4021-902)


IVA557罗盘指示器后板和插口编号图:



IVA557罗盘指示器后板插口接线编号及用途:


IVA557罗盘指示器电路原理示意图:


5.6.7、熟悉和了解HIT134或者SI0431同步发送接收器的使用方法:

HIT134同步发送接收器外形图:


同步发送接收器接线端口示意图:


5.6.8、熟悉和了解PC-251-1C试验器供电电源的使用方法:

PC-251-1C试验器供电电源面板图:


PC-251-1C试验器供电电源外形示意图:


PC-251-1C试验器供电电源后板示意图:


PC-251-1C试验器供电电源内部接线图:


5.6.9、测试人员需要熟悉了解HP54600示波器的使用方法:

HP54600示波器外形图如下:


HP54600示波器面板功能示意图:


HP54600示波器面板操作按键示意图:


5.7、NR810RVOR接收机的校验程序:

接通“直升机机载电子设备NR810()导航机虚拟化仪表检测试验器”的电源,运行测试程序,进入检测程序界面,屏幕显示:


5.7.1、NR810RVOR接收机的电源检查:

将试验器上“”(伏尔接收机电源开关,上通、下关)开关向上接

通,“”(信标接收机电源控制开关,上通、下关)开关向上接通。


观察检查28VDC电源和电流不大于1.25A。


5.7.2、VOR/LOC接收机检查:

5.7.2.1、灵敏度检查:

B)、从CMS-57无线电综合测试仪RFIN/OUT射频输出、输入端口连接一条50Ω的同轴电缆到NR81R接收机的VOR天线输入口。


测试结果:测量音频信/噪比应大于6dB。

D)、重复以上方式用CMS-57给接收机加1000Hz调制度30%的信号,使用频率为108.00到179.950MHZ的所有频道,信噪比均应大于6dB。

5.7.2.2、选择性检查:

A)、调节CMS-57综合测试仪给接收机加频率为114.9MHz/3uV、1000Hz调制度30%的VHF信号。加到接收机VOR天线上,记下音频输出所测数值。

B)、把信号电平增加6dB,改变输入信号频率±1.6KHz时,检查输出电平衰减应为±6dB。

C)、调节CMS-57综合测试仪给接收机加频率为114.9MHz/3uV、1000Hz调制度30%的VHF信号。加到接收机VOR天线上,记下输出所测数值。

D)、把信号电平增加60dB,改变输入信号频率±32KHz时,检查输出电平衰减应为±60dB.

5.7.2.3、检查:

A)、调节CMS-57综合测试仪给接收机加频率为114.9MHz/4uV、1000Hz调制度30%的VHF信号。加到接收机VOR天线上,记下输出所测数值。

B)、调节CMS-57综合测试仪把VHF信号电平从4uV增加到20mV,检查音频信号的变化应小于3dB。

5.7.2.4、音频功率和失真检查:

A)、调节CMS-57综合测试仪给接收机加频率为114.9MHz/1mV、1000Hz调制度30%的VHF信号。

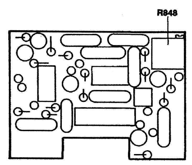
B)、调节电位器R823(所在位置参见下页附图),满足音频功率输出100mW±2dB。失真度小于10%。

5.7.2.5、按照手动VOR方式检查:

1)、准确度:

A)、调节CMS-57综合测试仪给接收机VOR天线端加频率为114.9MHz/1mV的标准VOR信号。

B)、按下表调整30Hz可变信号和30Hz基准信号电平:

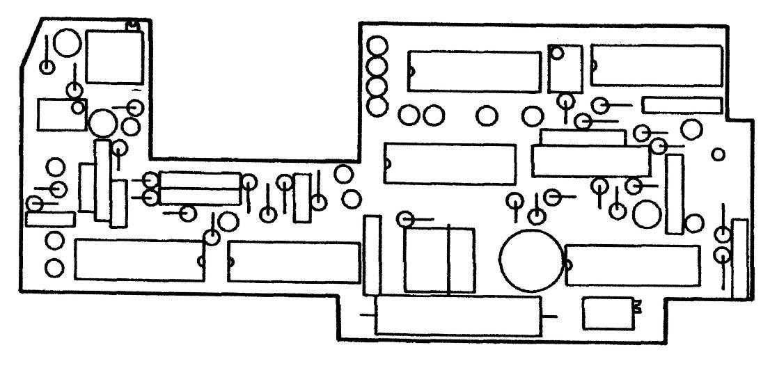
测试点TP401、TP402在VOR/LOC音频板上,如下图所示:



调节控制电位器在接收机的位置如下图所示:


C)、调节“φ0°”的调整:

a)、设置79V-3精密航道选择器的OBS选择开关和CMS-57无线电综合

测试仪上的VOR信号均到0°。

79V-3精密航道选择器的选择开关在设备上安装位置如下图所示:


c)、调节VOR/LOC音频板上的电位计R461,使M2表头指示为“0”。


d)、设置79V-3精密航道选择器的OBS选择开关和CMS-57无线电综合

测试仪上的VOR信号均到180度,使产生的VOR信号反相,看M2表头

显示位置,并记录下所指示值,用电位计R471校正到该值的一半,再

用电位计R461把μA指针再调整到零。

D)、调节“φ60°”的调整:

a)、设置79V-3精密航道选择器的OBS选择开关和CMS-57无线电综合

测试仪上的VOR信号均到60°。记录下M2表头指针偏转误差的μA值。

b)、再置CMS-57无线电综合测试仪上的VOR信号到0°,79V-3精密航

道选择器OBS的选择开关到180°。

c)、用电位计R446把M2的指示值调到先前读出的误差的一半,并用

R461电位器消除这个误差。

d)、在CMS-57无线电综合测试仪上的VOR信号置到0°,79V-3精密航

道选择器OBS的选择开关置到180°时再一次检查M2指针的偏差是否

为零。

e)、每隔30°绘出从0°到360°的误差曲线,容差为15μA,即大约为

误差1.5°。

2)、偏转的对称性:

A)、置CMS-57无线电综合测试仪上的VOR信号调到+10°,并用电位计

R473调节使M2的偏差调到+150μA。

B)、置CMS-57无线电综合测试仪上的VOR信号调到-10°,并检查M2

的偏转为-150μA(相对于前一个的对称的偏转),显示的容差为±15μA。

3)、TO(到)/FROM(离开)指示:

检查“TO/FROM”功能是观察79V3精密航道选择器上的TO/FROM表头:


按下表检查79V3精密航道选择器上的TO/FROM表头的偏转值和

偏转方向:


4)、定中心稳定性:

A)、置CMS-57无线电综合测试仪上的VOR信号到0°,79V-3精密航道

选择器OBS的选择开关到180°。

B)、检查改变CMS-57的VHF射频电平从5μV变化到10mV时,M2的中心

误差应小于±15μA。

5)、旗和偏差特性:

A)、设置CMS-57综合测试仪给接收机VOR天线端加频率为114.9MHz、1mV

的标准VOR信号。

B)、在CMS-57综合测试仪上选择VOR信号为10°,使得M2上的读数为

150μA的偏转。


用莲花插头连接线连接“偏差指示仪表板”上的M3到试验器的面板

上(伏尔旗控制电压测量口)插口,测量旗电流。

D)、把标准VOR信号减小到4uV,并且检查是否符合下表所示:


试验器上“超旗灯”测试显示指示灯的位置如下图所示:


6)、旗出现的条件:

A)、设置CMS-57综合测试仪给接收机VOR天线端加频率为114.9MHz、1mV

的标准VOR信号。

B)、在下列情况下检查“旗“电流为零(在M3上的读数为0uA)和超旗

灯“”熄灭:

(1)、甚高频载波闭塞(断开VOR天线)。

(2)、调制完全闭塞(从CMS-57综合测试仪去掉VOR/ILS信号源)。

(3)、9960Hz调制闭塞(在CMS-57综合测试仪)。

(4)、30Hz调制闭塞(在CMS-57综合测试仪)。

5.7.2.6、按照自动VOR方式检查:

A)、本测试需要使用自动伏尔组件“MVA510自动VOR适配器”,测试前检

查该设备是否连接完好。

MVA510自动VOR适配器外形如下图所示


B)、设置CMS-57综合测试仪给接收机VOR天线端加频率为114.9MHz、1mV

的标准VOR信号。

C)、调整同步发送接收器使罗盘指示器IVA557上磁方位罗盘“N”端在上端磁北位。

D)、在CMS-57综合测试仪上设置为“TO”时,从CMS-57综合测试仪上改

变角度从0°到360°,间隔30°变化,罗盘指示器IVA557上应同步变

化,允许误差±3°。

E)、在CMS-57综合测试仪上设置为“FROM”时,从CMS-57综合测试仪上

改变角度从0°到360°,间隔30°变化,罗盘IVA557上从+180°以后

顺时针同步变化,允许误差±3°。

5.7.2.7、LOC变换的检查:

1)、定中心精度:

A)、设置CMS-57综合测试仪给接收机VOR/ILS天线端加标准LOC信号,

信号为频率为110.100MHz/1mV(在试验器的频率控制组件上也要选择

这个工作频率)。加到VOR/ILS上的90Hz和150Hz信号的衰量应为0dB。


C)、调节VOR/LOC音频板上的电位计R415,设置LOC偏差为“0”(使M2表头指示为中心点“0”),允许误差±7μA。

2)、偏差对称性:

A)、置CMS-57综合测试仪信号源调制左偏90μA(90Hz)。

B)、用VOR/ILS音频电路板上的电位器R422把LOC偏转(M2指针)调

到90±9μA,这个偏差应往左。

C)、置CMS-57综合测试仪信号源调制右偏90μA(150Hz),检查M2指

针的读数应向右偏转90±9μA。

3)、定中心稳定度:

A)、置CMS-57综合测试仪信号源上恢复90Hz和150Hz的标准信号。

B)、改变CMS-57综合测试仪信号源VHF电平从5μV变化到10mV时,检

查M2的定中心误差应小于±7μA。

4)、旗和偏转特性:

A)、设置CMS-57综合测试仪给接收机VOR/ILS天线端加频率为110.1MHz

1mV的标准LOC信号。

B)、把CMS-57综合测试仪VOR/ILS信号源调制选择LEFT(左)(90Hz),

并把这个信号衰减4dB,M2的指针应向右偏差90±9μA。

C)、减小标准LOC信号到4uV,并检查是否符合下表:


假如不符合上述条件,断开CMS-57综合测试仪VOR/ILS信号源上的

90Hz和150Hz调制并用在VOR/ILS音频板上的电位计R401调整到出

现旗。

5)、旗出现的条件:

A)、设置CMS-57综合测试仪给接收机VOR/ILS天线端加频率为110.1MHz

1mV的标准LOC信号。

B)、在下列情况下检查“旗”电流为零。(M2读数为0uA)并且“超旗灯

”熄灭:

(1)、VHF载波闭塞(断开CMS-57综合测试仪VOR/ILS信号源)。

(2)、调制全部闭塞(断开CMS-57综合测试仪VOR/ILS信号源)。

(3)、150Hz调制闭塞(在CMS-57综合测试仪)。

(4)、90Hz调制闭塞(在CMS-57综合测试仪)。

5.7.3、GLIDESLOPE下滑系统检查:

5.7.3.1、按照测试系统图连接好测试设备:

5.7.3.2、下滑接收机检查:

1)、灵敏度检查:

因为下滑接收没有音频信号,所以不能直接测量灵敏度,需要间接地通过

检查旗信号和偏差来确定灵敏度(见以后的测量中)。

2)、选择性:

A)、将试验器面板上的开关(伏尔接收机电源开关)向上扳动,接

通接收机电源。

B)、在试验器上选择109.3MHZ频率。

C)、用CMS-57综合测试仪置工作在下滑方式给接收机下滑接收天线输入

端上加一个332MHZ频率,信号电平调到足够使超旗灯亮(在试验器面板

上的“”灯,最小量打开电平),记录下该最小量打开电平。

D)增加该最低工作电平6dB,改变UHF信号频率漂移,对称地偏离±21KHZ

的频率,检查“”灯是否熄灭。

E)、增加前述的最低工作电平60dB,改变UHF信号频率漂移,对称地偏

离±180KHZ的频率,检查“”灯是否熄灭。

3)、下滑调整的检查:

A)、定中心精度:

a)、在CMS-57综合测试仪上,设置90HZ和150HZ调制衰减调到零。

b)、用CMS-57综合测试仪置工作在下滑方式给接收机下滑接收天线输

入端上加一个332MHZ频率、1mV的标准下滑信号。

c)、按压“”按钮连接“偏差指示仪表”M2。

e)、调节下滑音频/受话器音频板上的R868电位计,调节下滑偏差为“0”

(M2指针指示中心),定中心容差为±7μA。

B)、偏转对称性:

a)、将CMS-57综合测试仪置工作在DOWN向下(150HZ),并选择2dB衰减。

b)、调节下滑音频/耳机音频板的电位计R875,设定下滑偏差(M2表头

指针)至78μA±7μA,检查该偏差指针应该在右边。

c)、将CMS-57综合测试仪置工作在UP向上(90HZ),并选择2dB衰减,

检查M2偏差指针应该在左边78μA±7μA。

C)、定中心稳定性:

a)、在CMS-57综合测试仪上选择90HZ和150HZ信号“0”dB。

b)、输入的UHF电平从20μV到10mV时,检查M2定中心误差应该小于

7μA。

D)、偏差稳定性:

a)、在CMS-57综合测试仪上选择UP向上(90HZ),并选择2dB衰减信号。

b)、将UHF电平从40μV变化到1mV,检查M2指针应该在左边78μA,

误差应该小于±7μA。

E)、旗和偏差特性:

a)、用CMS-57综合测试仪置工作在下滑方式给接收机下滑接收天线输

入端上加一个332MHZ频率、1mV的标准下滑信号。

b)、将CMS-57综合测试仪置工作在UP向上(90HZ),并选择2dB衰减,

检查M2偏差指针应该在左边78μA±7μA。

c)、减少标准下滑信号到10μV,并且检查是否符合下表:


F)、旗出现的条件:

a)、用CMS-57综合测试仪置工作在下滑方式给接收机下滑接收天线输

入端上加一个332MHZ频率、1mV的标准下滑信号。

b)、检查在下列情况时下滑旗电流为“0”(在M3上为0μA),并且超

旗指示灯“”熄灭。

(1)、UHF载波抑制(从CMS-57综合测试仪上断开与下滑天线连

接的射频电缆。

(2)、将CMS-57综合测试仪上的90HZ调制去掉。

(3)、将CMS-57综合测试仪上的150HZ调制去掉。

G)、下滑频道检查:

试验器上选择频率与UHF信号对应关系如下表,超旗灯应该是燃亮的。


H)、VOR/ILS测试:

VOR/ILS测试是通过按压试验器面板上“TEST”按钮开关和测试试验器

上按压“”开关连接到M2、按压“”开关连接到M3、以及在79V-3上的TO/FROM表来判别。


5.7.4、信标系统检查:

5.7.4.1、按照测试系统图连接好测试设备:

按照测试系统图连接好测试设备,CMS-57综合测试仪与接收机连接天线输入端接到信标天线输入位:


5.7.4.2、信标接收检查:

1)、灯测试:

将试验器面板上开关(指点信标接收机灯测试开关)向上扳动接收机灯测试开关,400HZ、1300HZ、3000HZ灯应同时全部燃亮,确定灯末级控制电路正常。

信标测试时控制开关和指示灯在试验器上所在布局位置如下所示:


2)、灵敏度检查:

A)、在CMS-57无线电综合测试仪上设置一个75MHZ、200μV、95%调制、

1300MHZ频率的信号,施加到信标天线输入口。

B)、将试验器面板上(信标接收机灵敏度控制开关)扳向上端接通,

使灵敏度为最高。

C)、调节信标接收板上电位器R959(位置如下图所示)使13000HZ指示灯

(琥珀色)刚刚开始燃亮。


D)、将试验器上开关扳向下,使灵敏度为最低。

E)、调节CMS-57无线电综合测试仪上改为一个75MHZ、2000μV、95%调制、

1300MHZ频率的信号。

F)、调节信标接收板上电位器R958(位置如下图所示)使13000HZ指示灯

(琥珀色)刚刚开始燃亮。

需要调节的电位器在信标接收板上安装的位置如下图所示:


3)、选择性:

A)、将试验器面板上(信标接收机灵敏度控制开关)扳向上端接通,使灵敏度为最高。

B)、在CMS-57无线电综合测试仪上设置一个75MHZ、200μV、95%调制、

1300MHZ频率的信号,施加到信标天线输入口,记录下来此时音频输出的dB

值。

C)将CMS-57无线电综合测试仪上的信号增加6dB加入信标天线输入口。

D)、改变施加在天线端的信号频率±10KHZ,检查音频输出的衰减应≤6dB。

E)、把在CMS-57无线电综合测试仪上的75MHZ、200μV、1300MHZ、95%调

制的信号电平增加40dB,并施加到信标天线输入口。

F)、然后改变频率±60KHZ,检查音频输出电平应有±60dB的信号衰减。

4)、:

A)、在CMS-57无线电综合测试仪上设置一个75MHZ、200μV、95%调制、

1300MHZ频率的信号,施加到信标天线输入口,记录下来此时音频输出的dB

值。

B)、改变输入电平从200μV到200mV,检查音频变化≤6dB。

5)、音频响应:

A)、在CMS-57无线电综合测试仪上设置一个75MHZ、2000μV、95%调制、

的信号,施加到信标天线输入口。

B)、在CMS-57无线电综合测试仪上音频功率检测如下的调制频率变化范围

应该≤9dB。


6)、音频滤波的选择性:

A)在CMS-57无线电综合测试仪上设置一个75MHZ、2000μV、95%调制的信

号,施加到信标天线输入口。

B)、在CMS-57无线电综合测试仪上音频功率检测调制频率围着三个中心频

率(400HZ、1300HZ、3000HZ)变化时,试验器上的三个信标指示灯应对称

地改变,绿色(400HZ)、琥珀色(1300HZ)、红色(3000HZ)变化如下。


7)、音频电平:

A)、在CMS-57无线电综合测试仪上设置一个75MHZ、2000μV、95%调制的

1300HZ信标信号,施加到信标天线输入口。

B)、调节电位计R961使音频输出电平功率为20mW(允许误差±2dB)。

8)、音频失真:

A)、在CMS-57无线电综合测试仪上设置一个75MHZ、200μV、95%调制的

1300HZ信标信号,施加到信标天线输入口。

B)、高频信号从200μV到2000μV时,检查CMS-57无线电综合测试仪上音

频失真度应≤30%。

5.8、NR810R维修部件的识别:

1)、解码器板:


2)、VOR/ILS试验器板:


3)、信标灯输出板:


4)、分配板:


5)、VOR合成器板:


6)、VOR音频板:


7)、VOR接收板:


8)、信标接收板:


9)、下滑接收板:


10)、参考30HZ板:


11)、下滑音频板:


12)、30HZ滤波板:


13)、9960HZ下滑信号板:


14)、下滑合成器B板:


15)、下滑合成器A板:


16)、电源板:


17)、带线的散热器板:

18)、接收机盖的拆除:

18)、接收机插件板的拔出:

猜你喜欢
    不容错过